Discuz!官方免费开源建站系统

 找回密码
 立即注册
搜索

[已解决] 如何弄QQ互联?需要域名解析DNS到腾讯的服务器吗?

[复制链接]
意思网 发表于 2011-10-10 16:22:10 | 显示全部楼层 |阅读模式
如何弄QQ互联?需要域名解析DNS到腾讯的服务器吗?老提示报错!请问就只要设置DZ X2里的一个IP地址就可以了吗?我的BBS怎么报这么多的错?谢谢!

ad.jpg
回复

使用道具 举报

 楼主| 意思网 发表于 2011-10-10 16:23:05 | 显示全部楼层
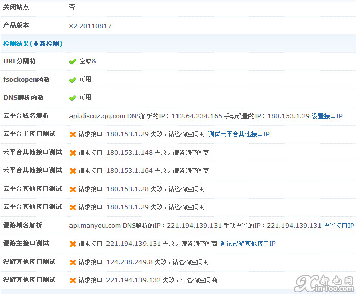
URL分隔符  空或&
fsockopen函数  可用
DNS解析函数  可用
云平台域名解析 api.discuz.qq.com DNS解析的IP:112.64.234.165 手动设置的IP:180.153.1.29 设置接口IP
云平台主接口测试  请求接口 180.153.1.29 失败,请咨询空间商 测试云平台其他接口IP
云平台其他接口测试  请求接口 180.153.1.148 失败,请咨询空间商  
云平台其他接口测试  请求接口 180.153.1.164 失败,请咨询空间商  
云平台其他接口测试  请求接口 180.153.1.28 失败,请咨询空间商  
云平台其他接口测试  请求接口 180.153.1.29 失败,请咨询空间商  
漫游域名解析 api.manyou.com DNS解析的IP:221.194.139.131 手动设置的IP:221.194.139.131 设置接口IP
漫游主接口测试  请求接口 221.194.139.131 失败,请咨询空间商 测试漫游其他接口IP
漫游其他接口测试  请求接口 124.238.249.8 失败,请咨询空间商  
漫游其他接口测试  请求接口 221.194.139.132 失败,请咨询空间商  
回复

使用道具 举报

 楼主| 意思网 发表于 2011-10-10 16:35:42 | 显示全部楼层
高手们请求支援啊
回复

使用道具 举报

dongdong0925 发表于 2011-10-14 09:30:21 | 显示全部楼层
空间商禁止对外post数据,须联系空间商解决。
回复

使用道具 举报

 楼主| 意思网 发表于 2011-10-14 15:16:08 | 显示全部楼层
dongdong0925 发表于 2011-10-14 09:30
空间商禁止对外post数据,须联系空间商解决。

麻烦了!
回复

使用道具 举报

 楼主| 意思网 发表于 2011-10-14 15:16:29 | 显示全部楼层
dongdong0925 发表于 2011-10-14 09:30
空间商禁止对外post数据,须联系空间商解决。

我应该怎么跟空间商解释呢?
回复

使用道具 举报

您需要登录后才可以回帖 登录 | 立即注册

本版积分规则

手机版|小黑屋|Discuz! 官方站 ( 皖ICP备16010102号 )star

GMT+8, 2025-11-10 12:44 , Processed in 0.125662 second(s), 17 queries , Gzip On.

Powered by Discuz! X3.4

Copyright © 2001-2023, Tencent Cloud.

快速回复 返回顶部 返回列表