Discuz!官方免费开源建站系统

 找回密码
 立即注册
搜索

[发布] [HUX]在线充值???是一个坑爹的骗子!!

[复制链接]
suntoo 发表于 2012-5-30 11:40:57 | 显示全部楼层 |阅读模式
本帖最后由 suntoo 于 2012-5-30 12:25 编辑

坑爹的!!是个骗子!!!骗钱的!!
写明了是3%的服务费,第二天就偷偷调到12%了
什么时候再偷偷调到100%还不晓得!!

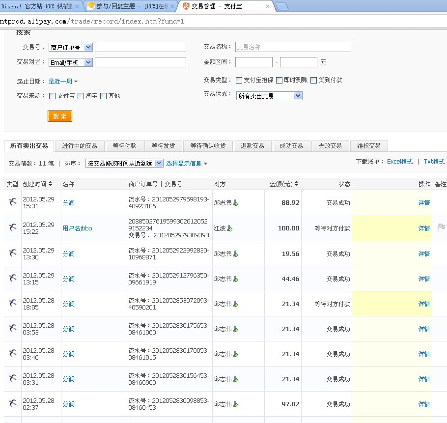
我站是5月28日使用这个插件,当时测试100元的交易额,分润97.02元给我,3%,正确!!再使用了几次22元的交易额,分润21.34元,(22X0.97=21.34),3%,也正确。那我就放心使用吧!
但第二天一看,傻眼了!!
一夜之间他竟然偷偷调到了差不多12%
50元的交易额,只分润给我44.46元!!,同样22元的交易额,昨天还分润21.34元的,今天就只有分润19.56元了!!
100元的交易额,昨天还分润97.02元的,今天只分润给我88.92元!!

你还不知道一觉醒来是不是又会调到50%甚至100%全部给他呢!!这个软件是骗钱的!!他们网站的QQ长期无人,点进去也是假的!!!言而无信的十足的骗子!!!

口说无凭,看看交易记录截图吧

8888.jpg


本人所言,绝对真实!!如有虚言,天打雷劈!

我把截图圈一下,会看的更明白

8888.jpg

大家不要上当了!!建议DZ去掉它的应用中心资格!!!

下面的截图是在他们网站申请开HID的资料,写到明了总服务费是3%,但实际上第二天就偷偷调到了12%!!什么时候心血来潮,半夜起身再给你调一下50%或心黑一点100%,那我不是白给他了做了?邱X伟,你这跟抢劫和偷窃有何区别??


9999.jpg

评分

1

查看全部评分

回复

使用道具 举报

xiangbaolao 发表于 2012-5-30 11:43:54 | 显示全部楼层
果然 坑爹啊
回复

使用道具 举报

dywe12 发表于 2012-5-30 12:12:53 | 显示全部楼层
唉,这插件是免费的?
回复

使用道具 举报

dxp081421 发表于 2012-5-30 12:19:19 | 显示全部楼层
我以前还是他的代理,呵呵 现在没有做了
回复

使用道具 举报

sw08 发表于 2012-5-30 12:41:16 来自手机 | 显示全部楼层
为什么不用支付宝接口呢?
回复

使用道具 举报

桃源老赵 发表于 2012-5-30 14:36:48 | 显示全部楼层
DZ怎么把关的?这个也放进去应用中心
回复

使用道具 举报

天天得 发表于 2012-5-30 14:44:37 | 显示全部楼层
做个记号,记住了。
回复

使用道具 举报

可以爱我吗 发表于 2012-5-30 15:00:50 | 显示全部楼层
楼主发帖辛苦了
回复

使用道具 举报

可以爱我吗 发表于 2012-5-30 16:28:50 | 显示全部楼层
什么情况?
回复

使用道具 举报

老狗阿年 发表于 2012-5-30 16:34:02 | 显示全部楼层
总之,衔接到别人网站的或是自己无法做主的,不论功能有多么强大或是独一无二的插件,我都宁可不使用,呵呵~
回复

使用道具 举报

您需要登录后才可以回帖 登录 | 立即注册

本版积分规则

手机版|小黑屋|Discuz! 官方站 ( 皖ICP备16010102号 )star

GMT+8, 2025-11-21 10:11 , Processed in 0.164156 second(s), 19 queries , Gzip On.

Powered by Discuz! X3.4

Copyright © 2001-2023, Tencent Cloud.

快速回复 返回顶部 返回列表