Discuz!官方免费开源建站系统

 找回密码
 立即注册
搜索

[发布] 圣诞大礼来袭,站长的福音【爬虫来访V1.0.0】盛大发布!

[复制链接]
dreamans 发表于 2012-12-24 23:31:25 | 显示全部楼层 |阅读模式
插件发布
插件名称: 爬虫来访V1.0.0
插件来源: 原创插件
适用版本: Discuz! X2.5
语言编码: GBK简体 UTF8简体 
最后更新时间: 2012-12-24
插件作者: Dreamans.com
插件简介: 监测搜索引擎爬虫来访,并对信息进行统计汇总分析,可为您对站点进行SEO提供数据帮助。
本帖最后由 dreamans 于 2012-12-27 14:43 编辑

【爬虫来访V1.0.0】即将发布    本插件为限时免费插件喔,机不可失

插件下载地址:https://addon.dismall.com/?@dspider.plugin

spider.png

【爬虫来访】插件能够详细的监测搜索引擎爬虫来访,并对信息进行统计汇总分析,可为您对站点进行SEO提供数据帮助。具体详细功能请看下面组图:

spider-chat-tot.png
各个爬虫各个时段数据汇总展示

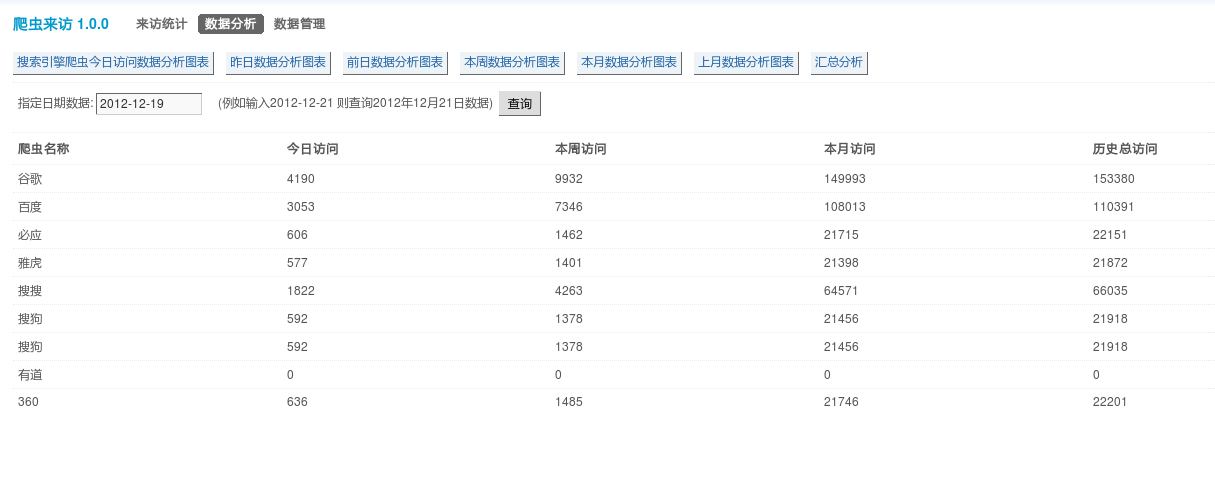
spider-指定日期图表.png
指定日期数据生成日期分析图表

spider-搜索.png
针对某个爬虫某一时间段具体详细访问数据的搜索功能

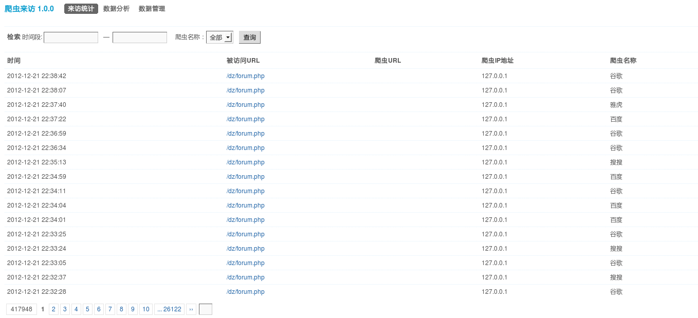
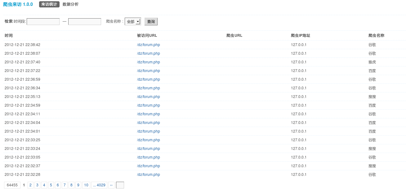
spider-来访统计.png
来访详细统计

spider-yesterday.png
昨日数据分析图表

spider-today.png
今日数据分析图表

spider-thisweek.png
本周数据分析图表

spider-thismonth.png
本月数据分析图表

spider-lastmonth.png
上月数据分析图表

spider-befyesterday.png
前天数据分析图表

spider-delete.png
数据删除清理工作

search-data.png
数据搜索功能

data_count.png
40万数据图表瞬间生成,无需等待

注:以上数据为模拟数据。

插件地址: https://addon.dismall.com/?@dspider.plugin

更多图片 小图 大图
组图打开中,请稍候......
回复

使用道具 举报

wuchunuan 发表于 2012-12-24 23:32:55 | 显示全部楼层
沙发哦!
回复

使用道具 举报

家俊 发表于 2012-12-24 23:33:37 | 显示全部楼层
強阿
回复

使用道具 举报

 楼主| dreamans 发表于 2012-12-25 09:09:00 | 显示全部楼层
{:soso__11875213706254235326_1:}
回复

使用道具 举报

风乱流年 发表于 2012-12-25 09:23:58 | 显示全部楼层
占位留名

回复

使用道具 举报

 楼主| dreamans 发表于 2012-12-25 10:58:04 | 显示全部楼层
{:soso__17423297190227618294_3:}
回复

使用道具 举报

 楼主| dreamans 发表于 2012-12-25 10:59:28 | 显示全部楼层
dz审核个插件为啥这么慢呢..
回复

使用道具 举报

偶尔郁闷 发表于 2012-12-25 12:42:24 | 显示全部楼层
MS 不错 关注
回复

使用道具 举报

 楼主| dreamans 发表于 2012-12-26 10:25:30 | 显示全部楼层
插件发布 ,大家可以来细细品尝https://addon.dismall.com/?@dspider.plugin
回复

使用道具 举报

dzsk 发表于 2012-12-26 12:18:25 | 显示全部楼层
dreamans 发表于 2012-12-26 10:25
插件发布 ,大家可以来细细品尝https://addon.dismall.com/?@dspider.plugin

没有GBK吗?只看到UTF8版的
回复

使用道具 举报

您需要登录后才可以回帖 登录 | 立即注册

本版积分规则

手机版|小黑屋|Discuz! 官方站 ( 皖ICP备16010102号 )star

GMT+8, 2025-12-10 12:55 , Processed in 0.142314 second(s), 19 queries , Gzip On.

Powered by Discuz! X3.4

Copyright © 2001-2023, Tencent Cloud.

快速回复 返回顶部 返回列表