Discuz!官方免费开源建站系统

 找回密码
 立即注册
搜索

[已解决] 网站接入“QQ登录”的问题! 错误代码:2003

[复制链接]
zhouxuxin0520 发表于 2013-5-6 09:55:00 | 显示全部楼层 |阅读模式
本帖最后由 zhouxuxin0520 于 2013-5-6 10:07 编辑

网站接入“QQ登录”的问题! 错误代码:2003
不知道是怎么了。求解决
file:///C:/Users/Administrator/AppData/Roaming/Tencent/Users/812851798/QQ/WinTemp/RichOle/4]R%25JQU)%7BG5]%7BD5_QNAUK~O.jpg
100.jpg
QQ图片20130506100555.jpg
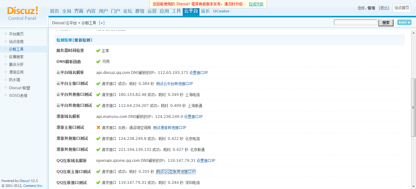
湖北映像装饰网 管理中心 - Discuz!云平台 - 诊断工具.png
回复

使用道具 举报

玻璃屋女孩 发表于 2013-5-6 10:02:20 | 显示全部楼层
可以先截图下Discuz!云平台的诊断工具我们看一下。
另外想问一下,您是不是绑定了2个域名?这样也会导致QQ登陆无法使用。
回复

使用道具 举报

 楼主| zhouxuxin0520 发表于 2013-5-6 10:08:26 | 显示全部楼层
玻璃屋女孩 发表于 2013-5-6 10:02
可以先截图下Discuz!云平台的诊断工具我们看一下。
另外想问一下,您是不是绑定了2个域名?这样也会导致QQ ...

我已经截图了,麻烦你在看一下,谢谢
回复

使用道具 举报

 楼主| zhouxuxin0520 发表于 2013-5-6 10:11:36 | 显示全部楼层
我只有一个域名。
回复

使用道具 举报

otherbank 发表于 2013-5-6 10:42:18 | 显示全部楼层

漫游接口不通,先手动设置个漫游的接口IP,然后再同步站点信息,重新开启下QQ互联就可以了
回复

使用道具 举报

 楼主| zhouxuxin0520 发表于 2013-5-7 08:54:39 | 显示全部楼层
还是不可以啊 。真纠结
回复

使用道具 举报

 楼主| zhouxuxin0520 发表于 2013-5-7 15:57:43 | 显示全部楼层
otherbank 发表于 2013-5-6 10:42
漫游接口不通,先手动设置个漫游的接口IP,然后再同步站点信息,重新开启下QQ互联就可以了

关键是开通不了
回复

使用道具 举报

otherbank 发表于 2013-5-8 17:00:29 | 显示全部楼层

开通不了请按照我上面的步骤操作,如果有报错请截图报错信息并截图,没有截图不好判断
回复

使用道具 举报

您需要登录后才可以回帖 登录 | 立即注册

本版积分规则

手机版|小黑屋|Discuz! 官方站 ( 皖ICP备16010102号 )star

GMT+8, 2025-11-12 12:33 , Processed in 0.110961 second(s), 17 queries , Gzip On.

Powered by Discuz! X3.4

Copyright © 2001-2023, Tencent Cloud.

快速回复 返回顶部 返回列表