Discuz!官方免费开源建站系统

 找回密码
 立即注册
搜索

[发布] 【茶盒互动】DZ论坛网监端口管理跟用户记录管理专用绿色插件!升级到x3版也能用!

[复制链接]
plm 发表于 2013-9-5 22:49:18 | 显示全部楼层 |阅读模式
插件发布
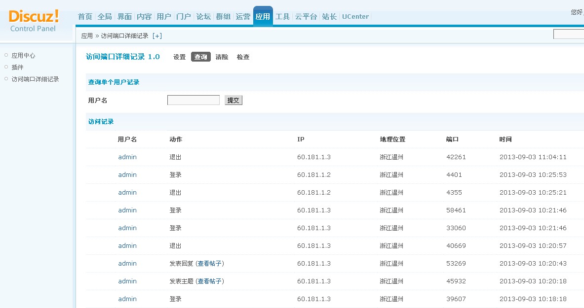
插件名称: 访问端口详细记录
插件来源: 原创插件
适用版本: Discuz! X2
语言编码: GBK简体 UTF8简体 BIG5繁体 UTF8繁体 
最后更新时间: 2013-09-05
插件作者: 茶盒互动
插件简介: 访问端口详细记录功能包括:
1、登录,退出,发帖,回帖4个动作全记录
2、IP地址跟端口重新建表记录,不影响原先设计表
3、IP地址显示归属地
4、后台设置某组别查看前台端口权限
5、后台列表显示详细用户记录信息,可搜索查询某用户所有记录
6、后台清除多少天前的详细信息
7、手机访问也将记录各种动作跟端口
8、不装也得装,各地网监要求都必须装
9、本插件是绿色插件,不修改 Discuz! 原来的表结构,查看权限与系统设置的管理组IP查看权限一致。超轻量的负荷
本帖最后由 plm 于 2013-9-6 10:36 编辑

根据 http://www.703804.com 的功能需求将插件重新进行打包整理给需要的网友们安装!!
下载地址:https://addon.dismall.com/?@teabox_ipportlog.plugin

1.jpg



2.jpg



3.jpg



4.jpg

下载地址:https://addon.dismall.com/?@teabox_ipportlog.plugin


回复

使用道具 举报

非一般感觉 发表于 2013-9-5 22:58:40 | 显示全部楼层
  前排支持 一个
回复

使用道具 举报

1314学习网 发表于 2013-9-6 00:08:58 | 显示全部楼层
前排支持 一个。。。
回复

使用道具 举报

潮宅男女 发表于 2013-9-6 00:53:34 | 显示全部楼层
前排关注!!支持一下。。
回复

使用道具 举报

您需要登录后才可以回帖 登录 | 立即注册

本版积分规则

手机版|小黑屋|Discuz! 官方站 ( 皖ICP备16010102号 )star

GMT+8, 2025-12-29 13:45 , Processed in 0.137991 second(s), 19 queries , Gzip On.

Powered by Discuz! X3.4

Copyright © 2001-2023, Tencent Cloud.

快速回复 返回顶部 返回列表